Краскопульт для побелки УЛИГ
Арт. УЛИГ
Характеристики
Код
?
Код в 1С
—
00-00022408
Привод окрасочного аппарата
—
ручной
Производительность насоса
—
1,4 л/мин
Максимальное давление на выходе из аппарата
—
490 ± 98 кПа
Производитель
—
AktiSpray
Краскопульт для побелки УЛИГ
8 990 руб./шт
Рассчитать доставку
Нашли дешевле?
Хочу в подарок
Краскопульт «Оскар» УЛИГ.050.00 предназначен для окрашивания поверхностей водо-меловыми, водо-известковыми и водо-эмульсионными малярными составами плотностью не более 1,3х103 кг/м3 в бытовых условиях и выполнения небольших объемов работ на промышленных и гражданских объектах, в том числе для химической защиты растений от вредителей и болезней и борьбы с сорной растительностью.
Краскопульт ручного действия УЛИГ имеет неоспоримые преимущества перед своими аналогами:
- применяемые твердосплавные материалы и коррозионно-стойкое покрытие гарантирует отсутствие ржавчины на поверхности деталей. Окраска краскопульта производится порошковым методом с последующим спеканием напыленных частиц. Благодаря образующемуся полимерному слою, металл конструкции остается защищенным от общей и ножевой коррозии, а изделие выглядит эстетическим и привлекательным даже после нескольких десятков лет активного использования. Твердосплавное распылительное сопло с диаметром 1,4мм.
- простота обслуживания краскопульта (не требуется обслуживание всасывающего и нагнетательного клапанов).
- возможность обработки значительных по величине площадей за счет объема баллона 2,5±0,5л. За 1 час можно обработать до 250 м² поверхности.
- длина удочки 1,4 м. позволяет обрабатывать поверхность без использования строительных лесов и лестниц на высоту до 4-х метров.
- возможность распылять растворы вблизи и на расстоянии нескольких метров от оператора за счет регулировки длины удочки (удочка состоит из двух частей).
- минимизированы неудобства в работе и повышена производительность оператора за счет оптимальных эргономических показателей и габаритов краскопульта. Требуется нажимать на рукоятку краскопульта вниз с усилием лишь 15 кг и всего 20 раз в минуту. При работе не нужно постоянно нажимать на курок, т.к. краскопульт оснащен легким в работе шаровым краном, благодаря которому возможно установить требуемый расход материала.
- автономность и независимость от внешних источников энергии.
- возможность забора раствора из любой емкости.
- равномерное нанесение жидкости без образования капель на поверхности.
- комплектация краскопульта легкими полихлорвиниловыми армированными рукавами, комплектом запасных частей. В комплект поставки ручного краскопульта входят удочка, фильтр, хомуты, напорный и всасывающий рукава, форсунка, шток, ключ.
Преимущества
- Широкая сфера применения;
- Рабочее давление: 490 ± 98 кПа;
- Расход окрасочного состава, не менее: 1.4 л /мин;
- Объем баллона: 2,5 ±0,5 л.
- Длина удочки 1,4 м.
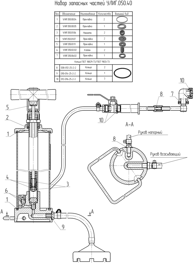
Комплектность поставки:
Краскопульт 1 шт.
В том числе:
Рукав всасывающий (L = 1,5 м) - 1 шт.
Фильтр - 1 шт.
Рукав напорный (L= 4,5 м) с краном - 1 шт.
Удлинитель (в разобранном состоянии из 2 частей) - 1 шт.
Удлинитель(с распылителем) - 1
Удлинитель - 1 шт.
Прокладка 1 шт.
Комплект запасных частей:
Манжета - 2 шт.
Кольцо 008-012-25-2-2 ГОСТ9833-73 - 2 шт.
Кольцо010-014-25-2-2 ГОСТ9833-73 - 2 шт.
Паспорт - 1 шт.
Краскопульт 1 шт.
В том числе:
Рукав всасывающий (L = 1,5 м) - 1 шт.
Фильтр - 1 шт.
Рукав напорный (L= 4,5 м) с краном - 1 шт.
Удлинитель (в разобранном состоянии из 2 частей) - 1 шт.
Удлинитель(с распылителем) - 1
Удлинитель - 1 шт.
Прокладка 1 шт.
Комплект запасных частей:
Манжета - 2 шт.
Кольцо 008-012-25-2-2 ГОСТ9833-73 - 2 шт.
Кольцо010-014-25-2-2 ГОСТ9833-73 - 2 шт.
Паспорт - 1 шт.
Загрузка отзывов...
Добавить отзыв
Привод
Привод окрасочного аппарата
ручной
Насос
Производительность насоса
1,4 л/мин
Максимальное давление на выходе из аппарата
490 ± 98 кПа
Общие
Код
?
Код в 1С
00-00022408
Производитель
AktiSpray
Бренд
AktiSpray
Объем емкости для материала
2,5 ± 0,5 л
